|
|
|
Ответ на сообщение какой фундамент под брусовой двухэтажный дом пользователя Домашняя
Ответ на сообщение какой фундамент под брусовой двухэтажный дом пользователя Домашняя
Ответ на сообщение какой фундамент под брусовой двухэтажный дом пользователя Домашняя
Ответ на сообщение какой фундамент под брусовой двухэтажный дом пользователя Домашняя
Ответ на сообщение Re: какой фундамент под брусовой двухэтажный дом пользователя ekmnhf
Ответ на сообщение Re: какой фундамент под брусовой двухэтажный дом пользователя герасимов
на столбах "сыграет"А на ленте, по вашему, не сыграет чтоли???
Ответ на сообщение Re: какой фундамент под брусовой двухэтажный дом пользователя demetrodon
Ответ на сообщение какой фундамент под брусовой двухэтажный дом пользователя Домашняя
Ответ на сообщение Re: какой фундамент под брусовой двухэтажный дом пользователя КОЛО
Ответ на сообщение какой фундамент под брусовой двухэтажный дом пользователя Домашняя
Ответ на сообщение Re: какой фундамент под брусовой двухэтажный дом пользователя герасимов
У меня очень мало принципов. Но те что есть я чту свято.
" Я не друг,не слуга,я-кот, хожу где вздумается,гуляю сам по себе "(с)
Ответ на сообщение Re: какой фундамент под брусовой двухэтажный дом пользователя Конст
У меня очень мало принципов. Но те что есть я чту свято.
" Я не друг,не слуга,я-кот, хожу где вздумается,гуляю сам по себе "(с)
Ответ на сообщение Re: какой фундамент под брусовой двухэтажный дом пользователя Конст
без опаски "играл"Гаспадин путает теплое с мягким.
.
Ответ на сообщение Re: какой фундамент под брусовой двухэтажный дом пользователя Конст
(сорри за то что в одном ответе не всё написал)Стоять можно по разному, а внутри двери не закрываются, про пол с потолками вообще молчу
Так их фундаменты - бревенчатая обвязка, уложенная в траншею (очень упрощенный вариант ленточки).
Стоят)
японец, спец по авто сказал! "дети у вас красивые, а всё что вы руками делаете..."
Ответ на сообщение Re: какой фундамент под брусовой двухэтажный дом пользователя Конст
Так их фундаменты - бревенчатая обвязка, уложенная в траншею (очень упрощенный вариант ленточки).Бревенчатая обвязка уложенная в траншею никакого отношения к ж.б. фундаментой ленте не имеет.
Стоят)
Ответ на сообщение Re: какой фундамент под брусовой двухэтажный дом пользователя 200978
а внутри двери не закрываются,Чтобы двери закрывались и открывались достаточно их правильно смонтировать.
.Ответ на сообщение Re: какой фундамент под брусовой двухэтажный дом пользователя КОЛО
Ответ на сообщение Re: какой фундамент под брусовой двухэтажный дом пользователя GEORG
Ответ на сообщение какой фундамент под брусовой двухэтажный дом пользователя Домашняя
Ответ на сообщение Re: какой фундамент под брусовой двухэтажный дом пользователя GEORG
Это как так правельно смонтироватьНабнрите в Яндексе "окосячка" и читайте.
И штукатурку со шпатлевкой тоже подскажите как?Штукатурку делают по дранке, шпаклёвку - по штукатурке.
а я за ленточный и покрепче навсякий случайВот Вы поясните пожалста - что есть "покрепче"???

Ответ на сообщение Re: какой фундамент под брусовой двухэтажный дом пользователя ekmnhf
как комментаторы не обращают внимания на следующие моменты:Обращают, не преживайте.
Удешевит земляные работы и не приведет к влиянию на конструкции дома деформаций грунтов. Дело теперь хоязяйское...Чето сомнительно, что "до желтого" под плиту закапываться не придется.
.Ответ на сообщение Re: какой фундамент под брусовой двухэтажный дом пользователя КОЛО
Ответ на сообщение Re: какой фундамент под брусовой двухэтажный дом пользователя КОЛО
Ответ на сообщение Re: какой фундамент под брусовой двухэтажный дом пользователя ekmnhf

Покачайте стол за угол
Свяжите углы стен и перекрытия карточного домика между собой, смоделировав стену из бруса - получите коробку.
.Ответ на сообщение Re: какой фундамент под брусовой двухэтажный дом пользователя КОЛО
Ответ на сообщение Re: какой фундамент под брусовой двухэтажный дом пользователя ekmnhf
Что понимать под выражением "дом устоит"Тоже самое, что и под Вашим "дом устоит"
. Есть понятие о 2й группе пред состояний...Есть такое, не спорю
.
.из за недостаточной жесткости узлов и связей между венцами дом перекосит.Связи между венцами - это первая группа предельных состояний
.
.
.


.
.аспределить действие локальных разнонаправленных сил на возможно бОльшую площадь...А зачем, позвольте полюбопытствовать?
Исправлено пользователем КОЛО (05.04.10 20:58)
Ответ на сообщение Re: какой фундамент под брусовой двухэтажный дом пользователя ekmnhf
толщина верхней части плиты -100мм. Под

.воего рода "штамп", посчитайте нагрузку под плитой на ед площади и сопоставьте с любым расч. сопротивлением...Про штамп 49 и и штамп 10 м2 я в предыдущем сообщении спросил.
.Ответ на сообщение Re: какой фундамент под брусовой двухэтажный дом пользователя ekmnhf
У меня очень мало принципов. Но те что есть я чту свято.
" Я не друг,не слуга,я-кот, хожу где вздумается,гуляю сам по себе "(с)
Ответ на сообщение Re: какой фундамент под брусовой двухэтажный дом пользователя Badger211

Ответ на сообщение Re: какой фундамент под брусовой двухэтажный дом пользователя Badger211
) - по всему периметру массивная подушка из трамбованного щебня, обернутая геотекстилем, на ней - чисто символическая лента. Ну и плюс ко всему хорошее армирование кладки (дом кирпичный). Так что через годик-другой думаю будет видно правильный ли выбран путь.Форумы - это такое место, где несколько людей могут убедить в своих заблуждениях тысячи.
Ответ на сообщение Re: какой фундамент под брусовой двухэтажный дом пользователя Badger211
Ответ на сообщение Re: какой фундамент под брусовой двухэтажный дом пользователя GEORG
У меня очень мало принципов. Но те что есть я чту свято.
" Я не друг,не слуга,я-кот, хожу где вздумается,гуляю сам по себе "(с)
Ответ на сообщение Re: какой фундамент под брусовой двухэтажный дом пользователя GEORG
В старину вообще рубленые дома на"стулья" ставили-т.е. на просмоленые чурбаки с крестовиной по низу.В 95 мне довелось подводить новый фундамент под такой дом 1911г рождения.Нижний венец тоже в труху был,но это хозяин лоханулся,просадил дом вниз.+ завалинка "колхозная",и тем не менее на 80 лет хватило.У меня очень мало принципов. Но те что есть я чту свято.
" Я не друг,не слуга,я-кот, хожу где вздумается,гуляю сам по себе "(с)
Исправлено пользователем Badger211 (06.04.10 00:38)
Ответ на сообщение Re: какой фундамент под брусовой двухэтажный дом пользователя Aleks_nsk
Ответ на сообщение Re: какой фундамент под брусовой двухэтажный дом пользователя КОЛО
Ответ на сообщение Re: какой фундамент под брусовой двухэтажный дом пользователя Badger211
Ответ на сообщение Re: какой фундамент под брусовой двухэтажный дом пользователя GEORG
против ленточного фундаментаЯ против ленточного для бруса.
отрицательные отзывы слышу только от столбов. только от столбов. Может не так заглублялись? Незнаю!Вполне возможно.
но как просто щебень перед л. фундаментом может смягчить деформацию грунта?1. Температура "замерзшего" грунта по высоте неодинаковая, и нарастает нелинейно. Ниже глубины промерзания грунт имеет положительную температуру, а у поверхности - температуру окружающего воздуха.
.двери открываться и закрываться будут?Не факт.
.Ответ на сообщение Re: какой фундамент под брусовой двухэтажный дом пользователя КОЛО
Ответ на сообщение Re: какой фундамент под брусовой двухэтажный дом пользователя GEORG
Дома стоят давно лет 40-60Совершенно необязательно, что их основание обладает пучинистыми свойствами.
Исправлено пользователем КОЛО (06.04.10 05:09)
Ответ на сообщение Re: какой фундамент под брусовой двухэтажный дом пользователя Aleks_nsk
Ответ на сообщение Re: какой фундамент под брусовой двухэтажный дом пользователя КОЛО
....................................................Ко всему добавлю, что в случае чего, для брусового дома ремонт подобного фундамента достаточно прост. Хороший домкрат и все меняй подушку под столбом ставь новый столб и ага.
Кроме того - пучению еще нужно "попасть" конкретно под столбик.
....................................................
Чтобы столбики вообще не выпирало - я предлагаю делать замену грунта на щебеночную подушку, не подверженную пучению и способную компенсировать деформации пучения окружающего грунта.
....................................................


Я сильный! Я гордый! Я рожден природой! Я лесной зверюга…
Hoodwinked (c)
Ответ на сообщение Re: какой фундамент под брусовой двухэтажный дом пользователя googleuser
Форумы - это такое место, где несколько людей могут убедить в своих заблуждениях тысячи.
Ответ на сообщение Re: какой фундамент под брусовой двухэтажный дом пользователя OCA
Форумы - это такое место, где несколько людей могут убедить в своих заблуждениях тысячи.
Ответ на сообщение Re: какой фундамент под брусовой двухэтажный дом пользователя Aleks_nsk
Ответ на сообщение Re: какой фундамент под брусовой двухэтажный дом пользователя КОЛО
Ответ на сообщение Re: какой фундамент под брусовой двухэтажный дом пользователя Lion76
Ответ на сообщение Re: какой фундамент под брусовой двухэтажный дом пользователя ekmnhf
У меня очень мало принципов. Но те что есть я чту свято.
" Я не друг,не слуга,я-кот, хожу где вздумается,гуляю сам по себе "(с)
Ответ на сообщение Re: какой фундамент под брусовой двухэтажный дом пользователя Badger211
Ответ на сообщение Re: какой фундамент под брусовой двухэтажный дом пользователя ekmnhf
У меня очень мало принципов. Но те что есть я чту свято.
" Я не друг,не слуга,я-кот, хожу где вздумается,гуляю сам по себе "(с)
Ответ на сообщение Re: какой фундамент под брусовой двухэтажный дом пользователя Badger211
Ответ на сообщение Re: какой фундамент под брусовой двухэтажный дом пользователя ekmnhf
от отпора грунта распределяются под плитой и отличаются по углам несущественно.
Вот Вы его зачем вообще упоминули то???
.
Собстно отпор грунта нужен лишь для подбора сечения элементов фундамента и больше ни на что не влияет.
.Спорить с вами я не буду ... что свидетельствует о недопонимании элементарных вещей.Спорить и не надо.
части фундамента расположена в ВЕРХНЕЙ зоне плиты, поскольку плита испытывает отпор грунта.По большому счету - плита работает как неразрезная на упруго-проседающих опорах.
.увеличение ЧАСТИЦ грунта

Б. И. Далматовым... М. Ф. КИСЕЛЕВ...Поисчите есчо.

если под столбиком подсыпать гравий, то за пределами котлована грунт уже не пучинистый!Отчего же не пучинистый. Какой был - такой и остался.
.что такое заиливание?Название говорит само за себя - зачем еще чего-либо объяснять.
поскольку он не в силах отменить зиму...Так я и не утверждал подобного. С чего Вы взяли, что я пытаюсь отменить зиму???
а уж о последствиях умолчу...чего так скромно???
.Ответ на сообщение Re: какой фундамент под брусовой двухэтажный дом пользователя КОЛО
Ответ на сообщение Re: какой фундамент под брусовой двухэтажный дом пользователя ekmnhf
У меня очень мало принципов. Но те что есть я чту свято.
" Я не друг,не слуга,я-кот, хожу где вздумается,гуляю сам по себе "(с)
Ответ на сообщение Re: какой фундамент под брусовой двухэтажный дом пользователя ekmnhf
пренебрегу в запас защемлениемПозвольте несогласиться.
.Ну увеличим толщину плиты на 20ммУж будте любезны
.я считаю, что требования СНип не будут нарушены даже если в плитной части это не будет 70мм.Песок у нас когда грунтом перестал быть???

Опирание чего?Опирание всей "плитно-ребристой" 7х7м.
Что за одна точка?Угол который выперло больше.
Куда делся отпор?Его не стало.
.Внутренние стены есть ли?Пусть будет что нет. Или пусть будет что есть - как Вам удобнее. Примите, как считаете нужным.
И зачем мне упражняться в абстрактных расчетахНуууу
- чтобы форму не терять, например 
что вокруг подушки грунт стал непучинистый…Вокруг подушки стал непучинистый.
вы в герметичный мешок упаковываете? И он целехонек остается после уплотнения? Кстати чем уплотняете щебень?Не герметичный.
Не смешно?Нет.
не устраняет ПРИЧИНЫ морозного пучения, поскольку причиной является все-таки промерзание любого грунтаЕсли так, то почему один и тот же грунт бывает как пучинистый, так и непучинистый. ??? При одинаковом промерзании то ???
не предохранит кирпичный дом от трещинообразованияНу а что произойдет-то???

Ответ на сообщение Re: какой фундамент под брусовой двухэтажный дом пользователя КОЛО
Исправлено пользователем GEORG (07.04.10 02:43)
Ответ на сообщение Re: какой фундамент под брусовой двухэтажный дом пользователя ekmnhf
И кстати мой адрес nstas@ngs.ru , не сочтите за труд по весне ( в конце мая) после постройки дома черкните письмецо, что все у вас в порядке. Беспокойно за вас. Но и восхищаюсь смелостью! Есть же творческие люди! Я думаю, что ваш фундамент обойдется вам на порядок дороже, а уж о последствиях умолчу... Хотя эффект на кирпичной кладке может возникнуть на позднее…Вы вероятно имеете в виду конец мая следующего года? Т.к. в конце мая этого мне за счастье с фундаментом разобраться, ну или хотя бы хорошо в этом начинании продвинуться. Но вот через год обязательно Вам отпишусь, а лучше сделаю большой фотоотчет по всем этапам стройки - что-то вроде mlhouse.ru (сайт одного строителя-любителя).
Форумы - это такое место, где несколько людей могут убедить в своих заблуждениях тысячи.
Ответ на сообщение Re: какой фундамент под брусовой двухэтажный дом пользователя Badger211
Ответ на сообщение Re: какой фундамент под брусовой двухэтажный дом пользователя КОЛО
Ответ на сообщение Re: какой фундамент под брусовой двухэтажный дом пользователя ekmnhf
У меня очень мало принципов. Но те что есть я чту свято.
" Я не друг,не слуга,я-кот, хожу где вздумается,гуляю сам по себе "(с)
Ответ на сообщение Re: какой фундамент под брусовой двухэтажный дом пользователя Badger211
Ответ на сообщение Re: какой фундамент под брусовой двухэтажный дом пользователя Aleks_nsk
Ответ на сообщение Re: какой фундамент под брусовой двухэтажный дом пользователя КОЛО
Ответ на сообщение Re: какой фундамент под брусовой двухэтажный дом пользователя ekmnhf
Принятие решения часто свидетельствует о том, что человек устал думать.
Ответ на сообщение Re: какой фундамент под брусовой двухэтажный дом пользователя сирота
Ответ на сообщение Re: какой фундамент под брусовой двухэтажный дом пользователя GEORG
Ответ на сообщение Re: какой фундамент под брусовой двухэтажный дом пользователя ekmnhf
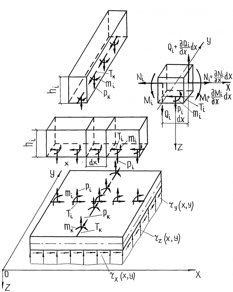
"пренебрежение" - опять о разном.1...3 - см картинку.
.
возвышение столбиков над землей и конструкция забиркиВозвышение столбиков - да.

Исправлено пользователем КОЛО (28.04.10 16:00)
Ответ на сообщение Re: какой фундамент под брусовой двухэтажный дом пользователя КОЛО
Ответ на сообщение Re: какой фундамент под брусовой двухэтажный дом пользователя КОЛО

Ответ на сообщение Re: какой фундамент под брусовой двухэтажный дом пользователя ekmnhf
"просто" передергивает
Вы же, до сей поры, упорно считаете и рисуете в примерах, как плита с ребрами вверх.Да хоть посередине плита будет - ничего не изменится.

схем для приближенного решения задач изгиба пластин подкрепленных ребрами жесткости.Это то, что в Вашем вложении - для приближенного решения???
.
.

сводится к передаче балкам нагрузки и участие в изгибе ребер в виде присоединенных поясков.Дык ить я на картинке даже вопросики нарисовал.
.не совсем корректно. (См вложенный файл)Ну так нарисуйте корректно.
я тоже "просто прикинул" - плитная часть диам 8AIIIВона оно как.
Наклонилось здание.И что?Непонятно, чтоли ??? - Деформации прошли под одним углом, а наклонилось все здание.
И что? Все конструкции целы.Криминал то в чем?Дык ить Вы сами про 2-ю группу предельных состояний мне втирали.
.
возникают знакопеременные усилия.... "расшатывается", как говорится, дом-тоЯ бы даже сказал - никогда не возвращаются в исходное положение.
Что касается "отжима"...Ну в чистом поле промерзание сверху вниз идет...Но здесь-то ведь при теплом подполье, да и вообще под жилым-то домом... Ну порассуждайте...Порассуждал


И что ты с ними не делай они не выйдут из этого понятия. Мне говорят - давайте его водой насытим и он СТАНЕТ пучинистым.Вы меня умиляете

Другое дело, что можно создать УСЛОВИЯ, когда они не проявляют пучинистых СВОЙСТВ.Грунт называют "пучинистый", когда эти условия не выполняются и "не пучинистый", когда эти условия выполняются.
Ну если назвали дерево дубом, как то не принято называть его елкой.

. 
Ответ на сообщение Re: какой фундамент под брусовой двухэтажный дом пользователя КОЛО

Принятие решения часто свидетельствует о том, что человек устал думать.
Ответ на сообщение Re: какой фундамент под брусовой двухэтажный дом пользователя КОЛО
Ответ на сообщение Re: какой фундамент под брусовой двухэтажный дом пользователя ekmnhf
..эффектно для девочек и непосвященных. И картинки....это ведь так просто считается!А Вам чего, стремно для девочек и непосвященных картинку нарисовать???

Что имелось ввиду – поскольку при шарнирном опирании плит по сторонам в пролете возникает (при тех же нагрузках) макс М, то и арматуру в растянутой зоне предлагалось подобрать по данному М.В пролете.
.видимо невдомек ему... ненадавливания горизонтальных волокон.Это опустим, т.к. к обсуждаемой теме отношения не имеет.
.речь идет о ребрах – рассмотреть их, как балки таврового сеченияС какого перепугу речь пошла о ребрах???
Шаг ребер....При таком отношении толщины плитной части к шагу ребер Ваша "плита опертая по четырем сторонам шарнирно" не потянет и 2,5 т/м2. Т.е. суммарная вертикальная нагрузка (от веса всех конструкций, полезной нагрузки на перекрытия и снеговой) не достигнет даже 250 т.
И вот смешно человеку ... приближенно.Там ниже было написано, отчего мне смешно. Потрудитесь перечитать...

в чем криминал, если вопрос об отклонениях от осей регламентируется?Это Вы будете "выпучивающемуся" углу заяснять, что оказывается ему дальше "выпучиваться" уже нельзя, т.к. отклонения осей от вертикали уже стало "даже чуток больше чем допускается строгими регламентами"...
плита многого позволяет избежатьМногого - слишком размыто и неопределенно. Надо бы конкретезировать - чего именно???
.не позволяет ... недопустимые напряжения...Не только мне ясно, что разность осадок...создает в узлах доп. Усилия, а поскольку .... то и усилия меняют знак..1. Не позволять она сможет только если Вы её сделаете достаточно жесткой, чтобы она смогла работать при отлипе (т.е. по балочной схеме, без учета отпора), и если заармируете все сечения как положено, а не "в запас для середины пролета".
Это вы должны подтвердить свое представление об «отжиме» на примере промерзания крайних фундаментов… А «снизу вверх» - это и есть передергивание.Мне то чего подтверждать - все уже давно подтверждено. Есть такая книжка на просторах интернета - Яковлев Р.Н. "Универсальный фундамент". Найдите и ознакомьтесь. Там, начиная со страницы 41 это все и подтверждено .
.
Ну и последнее. Про умилениеДавай ишшо

....это действительно «арифметика». Безграмотность. Есть еще алгебра и высшая математика....Это чего - из серии про дуба и ель???
Пусть вашим учителям на кафедре оснований и фундаментов будет легко и весело!см. самое начало этого поста.
Больше не буду!Врешь поди
Все вопросы к КОЛО!

Ты, Моцарт – Бог!Спасибо конечно
Но можете называть меня проще - Хозяин
.
.Ответ на сообщение Re: какой фундамент под брусовой двухэтажный дом пользователя КОЛО
Ответ на сообщение Re: какой фундамент под брусовой двухэтажный дом пользователя GEORG
Принятие решения часто свидетельствует о том, что человек устал думать.
Ответ на сообщение Re: какой фундамент под брусовой двухэтажный дом пользователя сирота
Ответ на сообщение Re: какой фундамент под брусовой двухэтажный дом пользователя GEORG
Ответ на сообщение Re: какой фундамент под брусовой двухэтажный дом пользователя Эдди
при такой грунтовой воде его плита - более удачное решение... так столбы выпирало и перекашивало....А вот и группа поддержки, откуда ни возьмись...
.не перекашивает ни заклинивает...Так это Вы себе поставили, или людям, которые довольны???.
и не очень долго и возились.Сколько???
Ответ на сообщение Re: какой фундамент под брусовой двухэтажный дом пользователя GEORG
.Ответ на сообщение Re: какой фундамент под брусовой двухэтажный дом пользователя Анонимный пользователь
Ответ на сообщение Re: какой фундамент под брусовой двухэтажный дом пользователя КОЛО
Ответ на сообщение Re: какой фундамент под брусовой двухэтажный дом пользователя Эдди
А я не понял! Товарищ обкурился чего-то! ///то Библия что-ли? Тоже человек писал....


Я говорю, чтоВсе существующие конструкции когда-то кем-то были сделаны и построены.
делалось и что реально построено.

.
"умные" пусть считают.Умные - уже давно посчитали всё и написали все это в книжках, снабдив картинками "для девачек и непосвященных"...



Ответ на сообщение Re: какой фундамент под брусовой двухэтажный дом пользователя сирота
А может не нужно на "болоте" строить?А вот хочется. Бильярдная, беседка, бассейн, баня, газон- ландшафтным дизайном обзывается. Да и небыло такого в прошлом году- вода стояла в метре от земли а сейчас в 30 см. Самое прикольное, что река в 30-50 метрах от этого сегодняшнего "болота". Есть идея, дренаж проложить до реки, но это действительно сложно и затратно.
Оправданы затраты на сложные решения?
Ответ на сообщение Re: какой фундамент под брусовой двухэтажный дом пользователя GEORG
Ответ на сообщение Re: какой фундамент под брусовой двухэтажный дом пользователя GEORG
Ответ на сообщение Re: какой фундамент под брусовой двухэтажный дом пользователя GEORG
Без труда и кашу маслом не испортишь !
Ответ на сообщение Re: какой фундамент под брусовой двухэтажный дом пользователя Эдди
Коло то у нас студент видимо...Тебе тоже нужно подсказать в какое место своего организма ты можешь засунуть своё мнение обо мне???
.то за счет откосов и оплыва стенок от

кто знает- в таких условиях,В таких условиях котолован копает только ненормальный...
...Вода говорит уйдет, а зима последняя что ли?Не последняя. А на что это влияет???
только у Яковлева рисунки не сдирает, у нас до хрена сейчас книжекНарисуй свои - может у тебя лучше получится, чем у Яковлева...
.И рожицы рисовать -Это не рожицы - это смайлимки... И я их не рисовал, а вставлял...

А бурить - так что, обсадные трубы ставить????
подсыпка то не 6х4 будет, а 7х5Будет шесть подушек 1х1х1 м. Под несущими стенами.
.
Воду куда на 10 сотках отводить?Что значит куда???.
.и время устройства и стоимость работы на забирку,


а то что ниже? Вывозить?Это что великий головняк???
.Ответ на сообщение Re: какой фундамент под брусовой двухэтажный дом пользователя margaritta
резиновые автомобильные покрышки, заполненные щебнем.Ну дык я тоже самое и предлагаю.
...Ответ на сообщение Re: какой фундамент под брусовой двухэтажный дом пользователя margaritta
Я понимаю, насколько будет контрастировать мое предложение с высоконаучной дискуссией выше, но поставьте вы вашу баню на резиновые автомобильные покрышки, заполненные щебнем. Для эстетики, конечно, придется что-то придумать,...Ага, предложите еще, разукрасить эти покрышки зверюшками всякими, цветочками. А вокруг баньки клумбочки с таким же художеством............ Уж тогда на винтовой лучше соглашусь. Но сумма более 40т. за 9 столбиков уж очень смущает. Не крут ли навар? Может открыть производство этих столбиков?
Ответ на сообщение Re: какой фундамент под брусовой двухэтажный дом пользователя GEORG
Уж тогда на винтовой...Несущая способность свай в текучих грунтах определяется ИСКЛЮЧИТЕЛЬНО по результатам испытаний натурной сваи нагрузкой, т.к. фактическое значение несущей способности сваи в таких грунтах может весьма значительно отличаться от расчетного.
Ответ на сообщение Re: какой фундамент под брусовой двухэтажный дом пользователя GEORG
У меня очень мало принципов. Но те что есть я чту свято.
" Я не друг,не слуга,я-кот, хожу где вздумается,гуляю сам по себе "(с)
Исправлено пользователем SOL (10.05.10 09:24)
Ответ на сообщение Re: какой фундамент под брусовой двухэтажный дом пользователя Badger211
Странно,а чего такой неадекват про покрышки?Нормальное решение,знаю дачи ,с совдеповских времен стоят на таких ф-тах,и не чирикают.Можете бочки соляровые взять,если покрышки не феншуйно.А винты-да,понт гарный,только дорогой, п.5 .Хотя если в хозяйстве есть цветной принтер-количество бумажек не проблема.Нет это не дача, на даче банька есть, но не будеш же туда зимой воду возить и греться в машине пока она протопится. Но кстати о покпышках и бочках- то такого еще не встречал. В основном ленточные вижу и изредко столбы. Но перекашивает их в этом году. А может взять двухтавровик поболе, проварить его основательно и положить его на щебень уложенный в траншею глубиной прим,см 40 и пусть качается , думаю не упадет? А принтер цветной есть , но деньги на краску в связи с кризисом кончились. Остались только на скромную баньку с непонятным основанием , А что Винтовые не устраивают только из за дороговизны? Может Просто взять трубу наварить на него шнек, просмолить верх столба ,чтоб не сржавел и вкрутить, и на нее еще двухтавровик приварить?

Исправлено пользователем SOL (10.05.10 09:25)
Ответ на сообщение Re: какой фундамент под брусовой двухэтажный дом пользователя GEORG
У меня очень мало принципов. Но те что есть я чту свято.
" Я не друг,не слуга,я-кот, хожу где вздумается,гуляю сам по себе "(с)
Исправлено пользователем SOL (10.05.10 09:27)
Ответ на сообщение Re: какой фундамент под брусовой двухэтажный дом пользователя Badger211
Исправлено пользователем SOL (08.05.10 08:16)
Ответ на сообщение Re: какой фундамент под брусовой двухэтажный дом пользователя Badger211
Ответ на сообщение Re: какой фундамент под брусовой двухэтажный дом пользователя КОЛО
Ответ на сообщение Re: какой фундамент под брусовой двухэтажный дом пользователя googleuser
Щебень притягивает в себя водуЯ этого не говорил.
Ответ на сообщение Re: какой фундамент под брусовой двухэтажный дом пользователя КОЛО
Ответ на сообщение Re: какой фундамент под брусовой двухэтажный дом пользователя Badger211
Ответ на сообщение Re: какой фундамент под брусовой двухэтажный дом пользователя GEORG
Ответ на сообщение Re: какой фундамент под брусовой двухэтажный дом пользователя Эдди
Как это не говорили?!Вот так это. Читайте текст осмысленно.
она почему-то не успеваетОткройте ту книгу Яковлева, ссылку на которую я приводил и читайте с той страницы, что я указал. Там все доходчиво расписано - почему именно и при каких обстоятельствах.
Что за манера, то так, то эдак...????
.
это хорошо или плохо?Хорошо.
Ответ на сообщение Re: какой фундамент под брусовой двухэтажный дом пользователя SOL
Ответ на сообщение Re: какой фундамент под брусовой двухэтажный дом пользователя Эдди
Вы посчитайте варианты. КОЛОТак Вы сами посчитайте, и цифры приведите.
на стоимость работ по выполнению метровой забирки ему плевать.А чегойто это она метровой стала вдруг???
А под баней лаги на что обопрем?Лаги следует опирать исключительно на стены сруба, и ни на что более.
Он из картона ее предлагает... полы только утеплить не забудьте, чтобы такое подполье не отапливать
обваловку сделать, тоже копейкиОбваловка делается своими силами совершенно бесплатно...
.Канавку там прокопать-ерунда же...Это Вы про дренаж???
.Ответ на сообщение Re: какой фундамент под брусовой двухэтажный дом пользователя Эдди
уширение столба снизу в первую очередь предназначеноУширение, в первую очередь, предназначено для увеличения площади опирания на грунт.

Ответ на сообщение Re: какой фундамент под брусовой двухэтажный дом пользователя КОЛО
Ответ на сообщение Re: какой фундамент под брусовой двухэтажный дом пользователя Эдди
Ответ на сообщение Re: какой фундамент под брусовой двухэтажный дом пользователя Эдди

Он вообще не строитель был. МАИ кончил, да еще заочно.???
.«отжимает» что-то во «вместилище»Тот самый фронт промерзания и отжимает.
.я не видел, где и что именно Бадгер посчиталЯ видел. Гдето в начале темы было.
Как забирку сделаете?вот например
Сколько она стоит по материалам и работеЭто смотря из чего городить.
.
какой высоты они будут при пролете хотя бы 4мТакой же, как и у балок перекрытия, и шаг такой же у них будет...
=10 куб верхнего растительного слоя и в зоне реберШесть подушек 1х1х1 м - это 6 куб.
...а сколько грунта на обваловкуГрунта - сколько есть - столько и обвалуете.
.Уширение в данном фундаменте армировать не нужно.В данном фундаменте оно против пучения особо и не работает. Поэтому и не армируется.

При плите-то ни забирки ни несущих лаг, ни чернового пола не было.Есть пропитка нижних венцов ядреной химией, гидроизоляция, плотный утеплитель, армированная стяжка, шпатлевка стяжки ....
.Ответ на сообщение Re: какой фундамент под брусовой двухэтажный дом пользователя googleuser
"выжимания" воды морозом и "стремления" воды к фронту замерзания - вообще не ясно.Вода стремиться наоборот - от фронта замерзания.
вода в ней фактически стекает вниз дальше от фронта замерзания, но даже если замерзание воды случится, то внутри щебня это не столь критично?Оно самое.
Ответ на сообщение Re: какой фундамент под брусовой двухэтажный дом пользователя КОЛО
Анонимный пользователь
Ответ на сообщение Re: какой фундамент под брусовой двухэтажный дом пользователя КОЛО
Ответ на сообщение Re: какой фундамент под брусовой двухэтажный дом пользователя googleuser
Ответ на сообщение Re: какой фундамент под брусовой двухэтажный дом пользователя googleuser_
Ответ на сообщение Re: какой фундамент под брусовой двухэтажный дом пользователя КОЛО
Ответ на сообщение Re: какой фундамент под брусовой двухэтажный дом пользователя googleuser_
Ответ на сообщение Re: какой фундамент под брусовой двухэтажный дом пользователя Эдди

У него вода при промерзании ПУЧИНИСТЫХ грунтов «отжимается»Кристалл льда ВЫДАВЛИВАЕТ воду из поры, т.е. "отжимает" её.
Со временем такое «заиливание» ....пока сказать не берусь –нет статистики.То, что Вы о ней не знаете - совершенно не означает что её нет.
.Ответ на сообщение Re: какой фундамент под брусовой двухэтажный дом пользователя Эдди
Запахи появляются... и гнилостные бактерии с грибками.???
Дренаж, при устройстве плиты не обязателен.Это каким таким образом плита избавляет от необходимости дренажа???
Если речь идет о бане.Вот так вот, прям на утеплитель и сразу чистовой пол???

.Ответ на сообщение Re: какой фундамент под брусовой двухэтажный дом пользователя КОЛО
Вода стремиться наоборот - от фронта замерзания.Теперь прочитали статью и цитируете обратное. Это и есть пустословие. А ссылка на продолжение процитированного текста говорит только о том, что если в глинистом грунте существуют коллоидные частицы, то...далее по тексту.
"Отжимается" - значит "выдавливается". Как поршнем. Сверху - вниз.
Никуда она не поднимается.
Исправлено пользователем Эдди (13.05.10 11:45)
Ответ на сообщение Re: какой фундамент под брусовой двухэтажный дом пользователя КОЛО
Ответ на сообщение Re: какой фундамент под брусовой двухэтажный дом пользователя Эдди
какая в нем необходимость при плите?Такая же, как и при любой другой конструкции малозаглубленных фундаментов.
.керамзит, керамзитовый песок, ГВЛ или СМЛ,Уверенны, что это будет дешевле, чем обычный водостойкий утеплитель+обычная армированная стяжка???.

.Ответ на сообщение Re: какой фундамент под брусовой двухэтажный дом пользователя КОЛО
Ответ на сообщение какой фундамент под брусовой двухэтажный дом пользователя Домашняя



Поставка и монтаж винтовых свай.
Услуги ямобуров.
#всесваиздесь
#всеямобурыздесь
Ответ на сообщение Re: какой фундамент под брусовой двухэтажный дом пользователя Эдди
не совсем мелкозаглубленный , а скорее поверхностный фундаментТогда мой столбик уж точно поверхностный. Без всяких там скорее.
.подход к нему несколько иной.Это требует дополнительных пояснений
в банях для пола самое главное выдержать по минимому объем подполья.Что за подсос такой???

полы с вентил. подпольем должны быть почти в два раза более утеплены чем если они лежат на грунтеНу в два раза - это Вы загнули.
.
.
.
если из условий рельефа, подтопляемости и т.д. вода талая или дождевая будет проникать выше 0.300 в керамзит, то НУЖНО предусмотреть мероприятия, если нет - то не нужно.Керамзит замечательно все впитает из воздуха. Совершенно необязательно заливать его водой.
.
при определенной площади здания, затраты на ее монтаж становятся меньше чем у любых других.Плита становится оправданной только в том случае, если подошвы столбов или лент "сливаются", из-за слишком слабых грунтов основания.
При этом "работает" она эффективней и позволяет решать много чисто конструктивных проблем- отсутствие подполья, в любом месте любую печь с опорой прямо на плиту, стены опираются не на пол, а на плиту и т.д..По поводу "работает", "играет", "эффективней", и подобных терминов - не хочется повторяться по кругу.


Ответ на сообщение Re: какой фундамент под брусовой двухэтажный дом пользователя КОЛО
Ответ на сообщение Re: какой фундамент под брусовой двухэтажный дом пользователя Эдди
Я думал... Задаешь дебильные вопросы -а все кидаются тебе объяснять...Что - объяснить на каком основании принят шарнир над опорой не выходит ???


Исправлено пользователем КОЛО (18.05.10 18:28)
Ответ на сообщение Re: какой фундамент под брусовой двухэтажный дом пользователя КОЛО
Ответ на сообщение Re: какой фундамент под брусовой двухэтажный дом пользователя Эдди

Ответ на сообщение Re: какой фундамент под брусовой двухэтажный дом пользователя Эдди
но поскольку ясен уровень


бозначили растянутую зону, а при этом заявили что, сетку надо установить вверхуОто-но что.
когда говорил о "допущениях"Это "допущение" не позволяет плите передать никакого момента на ребра. Это и отображено на картинке, от которой Вам стало "не по душе".

.
.У вас полы с холодным подпольем и на грунте считаются одинаково…Ну так откройте тайну - в чем же разница???
Ну и какую же температуру наружного воздуха вы возьмете в середине отапливаемого помещения при расчете теплопотерь того и другого пола при габаритах 10х10м?

Приму равной 0, или минус 5.
.
.
.
....Или взрыва бомбы? Почему вы взяли 4 т/п.м.? Так хочется? Обоснуйте подробно? ...Подробно почему такая схема - на картинке про отлип и крен.

расчетный пролет такой-то и т.д. А так – это безграмотная болтовня…Сечение ребра 700х100 - это мне выпытать у вас с ультрой с трудом, но удалось.
найдите в литературе, инете, у действующих проектировщиковДействующий проектировщик - это я и есть
.Исправлено пользователем КОЛО (19.05.10 17:27)
Ответ на сообщение Re: какой фундамент под брусовой двухэтажный дом пользователя googleuser
Плита дороже, не переделать, в расчетах можно ошибиться, повторно не используешь. Домик из бруса, сегодня нужен, завтра нет, разобрал, перестроил, передвинул ну так далее в таком духе - в общем "обратимое" решение.Почему- дороже? Вот против такого я выступал. Мы же не сравнивали. Стоимость плитного фундамента (по сравнению с другими) начинает расти после некоей площади, к котеджам это не относится. Но есть ведь и другие показатели. Ошибиться можно где угодно...
Ответ на сообщение Re: какой фундамент под брусовой двухэтажный дом пользователя Эдди
Я никогда не заявлял, что КОЛО - дурак? Я ТАК не считаю... из-за недостатка опыта, его знания не упорядочены ...

.Почему- дороже...Мы же не сравнивали.Ну так сравните...
начинает расти после некоей площади, к котеджам это не относится.Очень даже относится.
.Ответ на сообщение Re: какой фундамент под брусовой двухэтажный дом пользователя КОЛО
Ответ на сообщение Re: какой фундамент под брусовой двухэтажный дом пользователя GEORG
Ответ на сообщение Re: какой фундамент под брусовой двухэтажный дом пользователя Тарас_ка
Строй, батько, как деды положили. Лей ленточный и не парься. А то господа теоретики с практиками скоро физиономии бить друг другу начнут, как в парламенте.согласен и поддерживаю полностью
Это вроде как предупреждение о том, что за теоретические дискуссии в ответ на вполне конкретную просьбу скоро начнут банить. Все споры о "плотностях" и "ребрах", если уж есть желание спорить, можно вести в специально заведенном для этого топике.

Праздничный Ведущий Вячеслав Тишковец
Ответ на сообщение Re: какой фундамент под брусовой двухэтажный дом пользователя Тарас_ка
Исправлено пользователем Тарас_ка (20.05.10 17:11)
Ответ на сообщение Re: какой фундамент под брусовой двухэтажный дом пользователя GEORG
и построить по старинке, как всегда строил?Это уж только Вам решать
.Ответ на сообщение Re: какой фундамент под брусовой двухэтажный дом пользователя КОЛО
Ответ на сообщение Re: какой фундамент под брусовой двухэтажный дом пользователя Домашняя
ничесе ужас какой! Все переругались, а я уже с вашей помощью построила фундамент: все таки сделали ленточный, ширина 0,4, глубина 1м, над землей - 30см. Получилось заглубилась в глину сантиметров на 20-30. Сделали песочно-щебеночную подсыпку, рубероид положили. Поставили арматуру, купила диаметр 14. Заказала бетононасос, здорово так, длину трубы они сделали на 50м и быстренько все залили. Вот ведь техника пошла.. Понимаю, что заложила лишку, ну и пусть - не люблю расстраиваться, лучше думать о хорошем. Сосед крутит у виска, мол можно было бы в половину уложиться. Теперь надо еще больше работать, чтобы больше денег для дома собрать, вот и все... Этоу меня эйфория действует от первой выполненной задачи, всем спасибоУмничка! Молодец!

Принятие решения часто свидетельствует о том, что человек устал думать.
Ответ на сообщение Re: какой фундамент под брусовой двухэтажный дом пользователя сирота